WEEE是什么指令?WEEE怎么注册?
WEEE是什么指令?WEEE怎么注册?只要企业的产品是关于电子电子设备的,且销售欧洲国家,那么他就必须要了解WEEE。本篇文章就是带大家了解WEEE那些事儿。

WEEE介绍
WEEE是欧洲关于电子电气设备废弃物回收的指令,2002/96 / EC已在国家法律/法规中转换并生效。自2005年8月13日起,制造商对遵守WEEE指令负有财务责任。不遵守WEEE指令和国家WEEE法规将导致制造商提起诉讼。
除了选择性治疗的要求对于WEEE的材料和组件-电子电气设备的废弃物,WEEE指令和WEEE的国家法律/法规要求成员国建立和维护将电气和电子设备投放市场的生产商的注册表。到目前为止,还没有集中的欧洲注册办公室。
WEEE电气和电子设备标记的WEEE符号(徽标),生产者必须在每个欧盟国家进行注册。没有WEEE注册,则无法将产品投放到欧盟市场!

1. 生产者应向相应的代理机构支付年度注册费。
2. 生产者或代表他们采取行动的WEEE遵从计划将被要求报告其投放市场的EEE数量数据。
3. 生产者将被要求每年向代理商报告此数据。不这样做将是违法的。
WEEE指令目的
WEEE指令的主要目的是减少填埋的电子和电气废物量。
该指令旨在通过鼓励公司做到以下几点:
- 改善电气和电子产品的设计,使其包含更少的材料,更易于拆卸,包含更多的可回收零件以及包含更少的有毒材料
- 通过提供“回收”或回收计划并满足收集和处理WEEE的成本,使消费者更容易处置旧的电子和电气产品
- 确保WEEE废物处理达到回收和再循环目标
WEEE指令涵盖了消费者和专业目的使用的WEEE:
1. 私人住户将能够免费将其WEEE返回到收集设施;
2. 生产者(制造商,销售商,分销商)将负责回收和回收电气和电子设备;
3. 将要求生产商针对不同类别的电器实现一系列苛刻的回收和回收目标。
WEEE指令对谁有影响?
涉及制造,销售,分销,回收或处理电气和电子设备的人员。其中包括10个产品类别:
1. 大型家用电器
2. 小型家用电器
3. IT和电信设备
4. 消费类设备
5. 照明设备
6. 电气和电子工具(大型固定式工业工具除外)
7. 玩具,休闲和运动设备
8.医疗设备(所有植入和感染的产品除外)
9. 监控仪器
10. 自动点胶机
WEEE注册流程
1. 经销商填德国回收注册申请表格;
2. 回收公司拟定回收合同;
3. 经销商签字并回签;
4. 回收公司回签合同,合同生效;
5. 经销商收到账单,付款;
6. 回收公司把合同和经销商的注册资料提供给EAR审核;
7. EAR审核后颁发WEEE注册码,并且入德国电子回收电脑查询系统。
WEEE标记要求
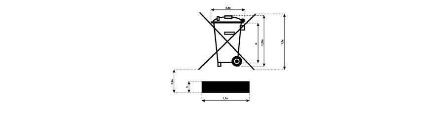
WEEE指令要求产品必须符合EN 50419的标记,带打叉的带轮垃圾桶标识。它还要求生产者在其产品所在的国家/地区进行注册,并定期报告要销售的产品数量和数量收集,回收,再利用和丢弃的电子废物。
尺寸: 1.5a> 5mm
位置:产品上的标记应易于使用,耐用,易读且不可磨灭。如果产品的尺寸,功能或其他特征阻碍了标记的应用,则应在包装,说明和保修上进行印刷。

需要注意的是:如果您不在相关国家/地区,并且在该国没有分支机构,则必须任命一名授权代表。授权代表将代表您的公司并确保其履行其法律义务。
以上就是关于“WEEE是什么指令?WEEE怎么注册?”的相关内容,了解更多请咨询海外顾问帮。
【海外顾问帮】是协助国内企业和个人跨境发展一站式的服务中心,协同全球专家顾问,坚持透明服务,打破跨境壁垒,为WEEE注册提供一站式服务,咨询电话: 400-106-2206。
WEEE / 包装法 / 电池法
直连专家
邮件群发-邮件群发软件|邮件批量发送工具|群发邮件平台|批量邮箱发送系统公司









