亚马逊:没有WEEE注册码直接下架产品!
最近,许多亚马逊卖家收到有关WEEE注册要求的通知:
亲爱的卖家,
我们收到的投诉是您的产品与废弃的电气和电子设备法规的2013年条款(“ WEEE条例”)不符。

亚马逊的WEEE注册要求包括:
- 产品及产品信息。
- 生产者责任。
- 经销商义务。
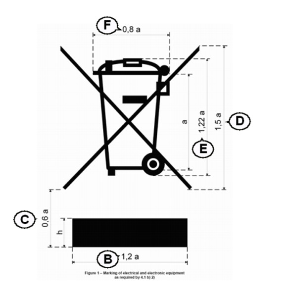
在欧洲投放市场的所有电子和电气设备(EEE)必须标有此符号,以表明它们已被WEEE指令覆盖,该指令对EEE生产者施加了许多义务,包括与交易融资相关的义务报废设备的报废处理和回收:

如果要处置用过的电气或电子设备,请注意,您不能通过常规的家庭垃圾进行处理。您可以在当地的废物处理设施或回收中心处置旧的电气或电子设备。请直接与您当地的当局联系以获取更多信息。
此外,如果您是从市场卖方购买产品的,请与该卖方联系,以进一步了解他们为处置旧电子设备和电池而制定的合规解决方案。
如果要回收计算机,移动电话,相机或其他电子设备之类的设备,则应清除所有个人或机密数据。另外,请确保擦除任何存储设备(例如内存或SIM卡)上的任何个人或机密数据。亚马逊对您设备上的任何数据概不负责。
什么是WEEE指令?
电气和电子设备的生产是西方世界制造业增长最快的领域之一,并且随着该领域消费者对产品的广泛接受,浪费也越来越多。2000年6月,欧洲委员会提出了解决此问题的建议,并于2002年12月作为欧盟废弃电子和电气设备(WEEE)指令获得通过。此类建议已在WEEE指令2012/19 / EU中进行了更新。
此后,欧盟成员国通过了实施WEEE指令的国家法律,对电子电气设备(EEE)的生产商和分销商提出了具体要求。
WEEE的主要条款为:
- 生产者参与报废设备回收,处理和回收的融资
- 改善WEEE的再利用/回收
- 确保WEEE分开收集
- 通知公众他们在处理WEEE中的作用
WEEE的重要性
随着亚马逊在全球商业的战略地位不断提高,境外的电子设备通过亚马逊不断涌入德国市场。而德国是一个高度重视环保的国家,2016年4月24号,德国环保部门发布了专门针对电商的法律,要求亚马逊义务通知在亚马逊平台上销售的境外电商注册电子设备回收,在注册WEEE电子设备回收码之前,亚马逊必须责令商家停止销售。

无论是EAR德国,还是Environment Agency英国,ADEME法国,意大利,乃至整个欧洲废弃电子电器都需要注册WEEE,已经是刻不容缓的事宜。
目前亚马逊对跨境电商销售的公司都实行强行关闭的政策,没有注册WEEE注册码将会强制下架产品。关注点是德国WEEE,另外是英国WEEE,再次是法国WEEE,意大利WEEE及其他欧盟国家的WEEE,他们都是独立的系统,都需要注册WEEE。
如果您的产品在跨境电商涉及电子电气,小家电,LED灯,玩具用品,护理器具,手电筒等常用产品,尽快注册回收必备的WEEE注册码,避免不必要的损失和时间上来不及等待的弊端。
不注册WEEE会有什么后果?
如果卖家不知晓德国的电子设备回收注册通知,严重的后果并不是被亚马逊封锁listing ,而是在商家卖得很好的前提下,被竞争对手盯上,竞争对手购买该商家产品,如果产品上没有印上带斜线的垃圾桶,或者该产品没有在德国注册回收,竞争对手会委托德国律师给亚马逊发信,要求停止销售该公司的产品,并且申请法庭程序,销毁该公司在亚马逊的所有产品。
此时商家不仅损失了所有库存,而且需要付律师信的费用和销毁产品的费用,这可能意味着这个公司基本上被赶出德国市场(目前产品有电池、电路板(PCB)和外接电源的都需要注册WEEE码)。
WEEE / 包装法 / 电池法
直连专家
哪些产品需要做WEEE注册?
WEEE指令将电子和电气设备分为十类:
第1类-大型家用电器(冰箱,炊具,微波炉,洗衣机等)
第2类-小型家用电器(真空吸尘器,钟表,烤面包机等)
第3类-IT和电信设备(PC,大型机,打印机,复印机,电话等)
第4类-消费类设备(收音机,高保真音响,乐器,视频,便携式摄像机等)
第5类-照明设备(荧光灯管和支架,钠灯等)
第6类-电气和电子工具(钻头,缝纫机,电动割草机等)
第7类-玩具,休闲和运动器材(电动火车,游戏机,健身器材等)
第8类-医疗设备(分析仪,透析机,医疗冰柜等)
第9类-监视和控制设备(烟雾探测器,恒温器,天平等)
第10类-自动分配器(热饮机,糖果和巧克力棒分配器,自动提款机等)
【海外顾问帮】是协助国内企业和个人跨境发展一站式的服务中心,协同全球专家顾问,坚持透明服务,打破跨境壁垒,为WEEE注册提供一站式服务,咨询电话: 400-106-2206。
邮件群发-邮件群发软件|邮件批量发送工具|群发邮件平台|批量邮箱发送系统公司








