BlueHost香港虚拟主机体验评测
近几年来香港主机因免备案和速度快而成为国内站长建站的首要选择。随着市场需求量的增加,许多美国知名主机商纷纷推出了香港虚拟主机。作为美国老牌主机商BlueHost在2014年开通中文站,并与香港机房合作推出了香港空间。BlueHost香港虚拟主机一经推出便受到广大用户的青睐和追捧,同时在业内的口碑也是不错的。那么BlueHost香港主机到底好不好呢?
一、BlueHost香港主机评测之方案篇
BlueHost香港虚拟空间有Linux和Windows操作系统,为大家提供Plan A、Plan B和Plan C三种不同的方案,其中Plan A方案只支持单个站点,Plan B或者Plan C方案都是支持无限域名的,可以根据不同的建站需求来选择不同的方案。这里值得一提的是BlueHost香港虚拟主机都赠送免费的SSL证书和支持全球CDN加速技术。现在通过BlueHost优惠码购买可以享受30%优惠。

《《《《点击购买》》》》
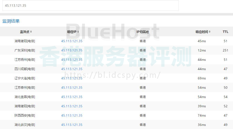
二、BlueHost香港虚拟主机评测之速度篇
BlueHost香港主机所在机房是HKColo.NET数据中心最顶级的香港Telehouse机房,占地3万平方,是T3+级标准数据中心,是全香港最大的数据中心之一。香港Telehouse机房近年来致力于开拓国内市场,并且面向大陆地区推出了一系列措施,其中包括线路的优化,是目前香港到大陆速度最快、最稳定的线路之一,通过测试国内Ping值在50ms左右。同时Telehouse香港机房配备高级别设备和先进的技术保证了托管的服务器安全稳定,可以保障99.9%的运行时间。
BlueHost香港空间Ping速度

BlueHost香港空间MTR路由追踪测试

三、BlueHost香港虚拟主机评测之配置篇
在BlueHost中文站了解到,BlueHost服务器采用双E5530 2.40GHz至强四核超线程处理器、24GB内存、250GB RAID 1 (镜像) OS驱动、1 TB RAID 1 (镜像) 客户数据缓存驱动器、电池支持,所有驱动均有RAID控制器、冗余电源, 高压交流电和火灾监测系统。而且支持PHP 5.2, 5.3x, 5.4x, Perl, Python, RoR, GD, cURL, CGI, mcrypt、Apache 2.2x、MySQL 5、Ruby On Rails、Zend Optimizer, Zend Engine, ionCube Loader等程序。

邮件群发-邮件群发软件|邮件批量发送工具|群发邮件平台|批量邮箱发送系统公司








